制冷系統運行時,不管是什么季節,都希望它能處在設定的穩定工況下運行,不希望有波動出現。但實際上,季節變化時環境溫度在變化,其冷凝溫度和壓力都會變化,使制冷系統在變化的冷凝壓力下運行,這對壓縮機運行不利,運轉中往往會出現故障。為防止這類故障出現,對能量為20000W以上的冬季需要運行的制冷裝置(包括空調器),應裝設冷凝壓力調節閥,以保持恒定的冷凝壓力,維持壓縮機的穩定運行。
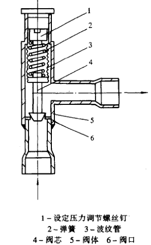
圖2-27為冷凝壓力調節閥結構圖。圖中下面為進口,水平管為出口,上面有壓縮彈簧,并用波紋管密封,頂上有調節螺釘,以調整彈簧的壓縮力。彈簧壓迫著閥心,使閥心壓向閥門座。由冷凝器來的高壓液體的壓力頂開閥心,以維持一定的開度,使冷凝器保持設定的壓力。當冷凝器受環境溫度的降低而使冷凝壓力下降時,彈簧力將閥心關小,減小其流動,使冷凝壓力維持在設定值。當冷凝壓力高于設定值時,彈簧力小于冷洗壓力,閥心被頂大點,以保持原壓力。






