在電冰箱、空調器管道的焊接過程中,應注意以下幾個問題:
1)首先應將欲焊接的管道、管件的金屬表面進行清潔,不應有水分、油污和灰塵。為這些成分都會影響焊料的流動和焊接,油污受熱炭化后也會使焊料不流動,影響焊接的質量。
2)根據焊件材料選用合適的焊條和焊劑。焊劑的使用對焊接質量有很大影響,一般選用焊劑的溫度比焊條溫度低50℃為佳。
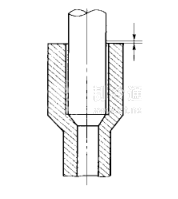
3)電冰箱、空調器中的管道焊接一般都采用套管焊接法。或者是細管伸入粗管中,如圖7.15所示:或者是將焊管做成杯形口,再將另一個管插入杯形口內,如圖7.16所示。


無論何種插入焊接法,對插入深度和間隙都有一個要求。如果插入太短,不但影響強度和密封性,而且焊料容易流入管道口,造成堵塞,如果間隙過小,焊料不能流入,只有焊附在接口外面,強度差,很容易開裂而造成泄漏;如果間隙過大,不僅浪費焊料,而且焊料極易流入管內而造成堵塞因此,合理地選擇插入長度和兩管的間隙極為重要。套接管子插入的長度和間隙按表7.3所列尺寸掌握。







