壓縮機在運行過程中運行部件要有一定的冷凍機油進行不斷的潤滑和冷卻。為了保證壓縮機的安全運行,應避免因油壓過小而無法起到正常的潤滑和冷卻作用。因此,人們利用壓差繼電器去感測油壓差,當壓差低于設定值時便切斷壓縮機電機電源,保護性停機。但壓縮機從啟動到建立正常的油壓差約需1min的時間,所以一只實用的壓差繼電器中還含有時間繼電器。下面以JC-3.5型壓差繼電器為例進行介紹。
1.外形與結構
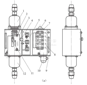
JC-3. 5型壓差繼電器的結構如圖5-17 (a)所示。

2.工作原理
如圖5-17 (b)所示,潤滑油泵出口端與壓差繼電器的高壓波紋管7相連,壓差繼電器的低壓波紋管1與壓縮機的曲軸箱相連,使兩個對頂的波紋管產生的壓力差與主彈簧5相抗衡。當實際壓力差大于調定位時,壓差開關17處于實線位置,把K與觸點a接通。延時開關Ks與X1接通,電流由B點經K、a回到A,正常工作燈13亮。B點另一路經交流接觸器線圈JO、 X、X1、Ks、Sx再回到A。由于熱繼電器RJ、高低壓力繼電器KD均處于正常閉合狀態(tài),JO線圈得電,其主觸點接通壓縮機電源,壓縮機正常工作。

當實際壓力差小于調定值時,杠桿2在平衡板3的作用下偏轉,使壓差開關17處于虛線位置,K-a斷開,K-B閉合,正常工作燈滅,電流從B點經K、b到加熱器16、 D1、 X、X1、 Ks、 Sx、KD、RJ到A點。此時,由于JO線圈中仍通有電流,所以壓縮機繼續(xù)運轉。但加熱器通電后加熱雙金屬片15經約60s時間(有些壓差繼電器的延時時間長達120s),雙金屬片變形至具有足夠的力量推動延時開關Ks與Sx接通,切斷交流接觸器線圈JO及加熱器的電源,交流接觸器的主觸點斷開,壓縮機停止運行,事故燈12亮。
由于延時開關被雙金屬片推至S1位置時,其端部已被自鎖開關扣住,此后即使雙金屬片的溫度下降到正常位,Ks也不能彈回。因此,當故障排除后,要按動復位按鈕9,使Ks回復到與X1接通的位置,讓線圈JO得電,壓縮機才能再次啟動。






