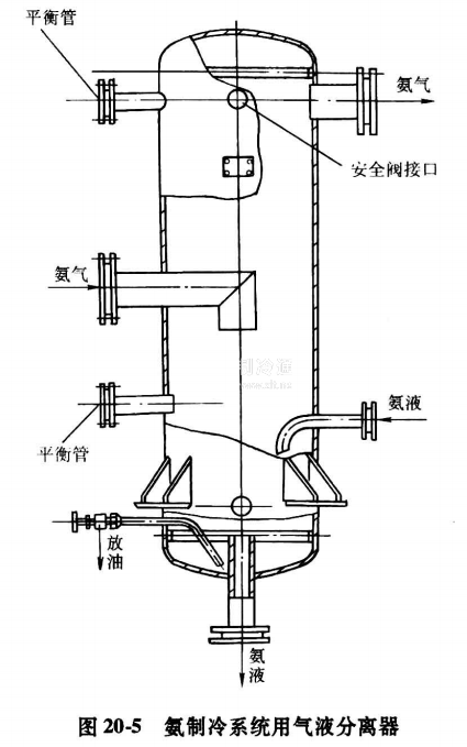
氣液分離器的作用,是使混合的氣、液制冷劑分離,分為機房用和庫房用兩種。機房用氣液分離器與機房壓縮機的總回氣管路相連接,用以分離回氣中的液滴,防止壓縮機發生液擊。庫房用氣液分離器,一般用于重力供液系統,設置在各個庫房(或高于庫房,由若干冷間合用某一氣液分離器),用以分離節流后的低壓制冷劑液體中夾帶的蒸汽,以及來自冷間冷分配設備回氣中夾帶的液滴,并借助其設置的高度(0.5~2. 0m)向各冷間設備供液。氨制冷系統重力供液用的氣液分離器,應保持液面高于冷間最高層冷分配設備約0.5~2. 0m,其上設有供液機構—浮球閥或液位控制器配供液電磁閥、手動節流閥等,其構造如圖20~5所示。
立式氣液分離器液滴的分離,是依靠氣體流速和方向的變化實現的。設計時,氣體在筒內的流速不應大于0. 5m/s。工程選用時可參考《冷庫設計手冊》或工廠產品說明書。

氟利昂制冷系統中的氣液分離器如圖20-6所示。它是一種帶U形管的氣液分離器,并多與回熱式換熱器合為一體。它除了分離混合氣體中的液滴外,還可以是一個回氣換熱器,并可保證回氣中的潤滑油順利返回壓縮機,以及多臺壓縮機回油量的均勻分配。






