(1)水系統設計原則風機盤管的水系統與采暖系統相似(雙水管時),但因有供冷、供熱要求,故又有所差別。
風機盤管水系統的設計應注意以下問題:
1)水系統在高層建筑中,應按承壓能力進行豎向分區(每區高度可達100m),兩管制系統還應按朝向作分區布置,以便調節。當管路阻力和盤管阻力之比在1:3左右,可用直接回水方式,否則宜用同程回水方式。對于水環路壓差懸殊的場合,也可用平衡閥進行調整。
2)風機盤管用于高層建筑時,其水系統應采用閉式循環,膨脹水箱的膨脹管應接在回水管上。此外管路應該有坡度,并考慮排氣和排污裝置。
3)風機盤管承擔室內和新風濕負荷時,盤管為濕工況,應重視冷凝水管系統的布置。

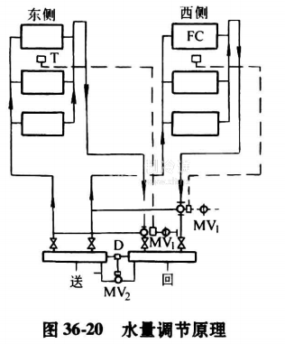
(2)水系統的調節方式風機盤管一般均采用個別的水量調節閥。和空調器中盤管的水量調節一樣,當在進入盤管處設叉二通閥調節進入盤管水量時,則系統水量改變;當設有盤管旁通分路處出口三通閥時,則進人盤管流量雖改變而系統水量不變。
當風機盤管無局部水量調節裝置時,則可采用按朝向分區的區域控制方式。這種情況如圖36-20所示,在各區回水管路上裝有三通閥(Mv1),根據室溫控制器調節進入盤管的水量。對總系統來說,水量不產生變化(定水量方式)。






