在食品冷藏運輸中,鐵路冷藏車(refrigerated trains)。具有運輸量大、速度快的特點,它在食品冷藏運輸中占有重要地位。良好的鐵路冷藏車應具有以下特點:良好的隔熱性能,并設有可控制溫度的制冷、通風和加熱裝置;能適應惡劣氣候;耐沖擊和抗震性能好;維修方便,大修期長;具有備用機組:操作自動化。鐵路冷藏車是我國食品冷藏運輸的主要承擔者。
鐵路冷藏車主要包括鐵路加冰冷藏車、鐵路機械冷藏車、鐵路蓄冷冷藏車、鐵路液氮冷藏車等兒種類型。
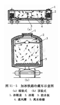
1.加冰鐵路冷撒車
加冰鐵路冷藏車是以冰或冰鹽作為冷源,利用冰或冰鹽混合物的溶解熱,使車內溫度降低,在冷藏車內可獲得0℃及0℃以下的低溫。
圖11-5為用冰制冷的鐵路冷藏車示意圖,車廂內帶有冰槽,冰槽可以設置在車廂頂部,也可以設置在車廂兩頭。設置在頂部時,一般車頂裝有6一7只馬鞍形貯冰箱,2一3只為一組。為了增強換熱,
冰箱側面、底面設有散熱片。每組冰箱設有兩個排水器,分左右布置,以不斷清除融解后的水或鹽水溶液,并保持冰箱內具有一定高度的鹽水水位。

冰槽在車廂頂部布置時,由于冷空氣和熱空氣的交叉流動,容易形成自然對流,加之冰槽沿車廂長度均勻布置,不安裝通風機也能保證車廂內溫度均勻,但結構較復雜,且箱底易積存雜物。
冰槽設置在車廂兩頭時,為使冷空氣在車廂內均勻分布,需安裝通風機,而且由于冰箱占地,約使載貨面積減少25%。對于水產品,可直接把碎冰撒在包裝箱里面,然后將包裝箱碼放在火車廂中,車廂底面有排水管將融化的冰水排至車外。
如果車廂內要維持0℃以下的溫度,可向冰中加人某些鹽類,車廂內的最低溫度隨鹽的濃度而變化。
用干冰制冷的鐵路冷藏車若食品不宜與冰、水直接接觸,可用干冰代替冰。但由于干冰的溫度較低,使用時應用紙或布將干冰包起來,以控制其升華速度,同時可防止食品發生凍害或冷害。
干冰最大的特點就是從固態直接變為氣態,而不產生液體。但是,若空氣中含有水蒸氣,干冰容器表面上將結霜,干冰升華完后,容器表面的霜會融化為水落到食品上,因此,要在食品表面覆蓋一層防水材料。
如果用干冰制冷的鐵路冷藏車運輸新鮮的果蔬類產品時,要注意通風或果蔬的包裝,避免由于干冰融化后產生的CO2濃度過高,造成果蔬無氧呼吸,促進果蔬的腐爛變質。
用液氨和干冰的火車,其原理和結構與冷藏汽車的原理和結構無很大差別。
機械制冷鐵路機械冷藏車是以機械式制冷裝置為冷源的冷藏車,它是目前鐵路冷藏運輸中的主要工具之一。鐵路機械冷藏車具有制冷速度快、溫度調節范圍廣、車內溫度分布均勻和運送迅速等特點。可以靈活根據運輸貨物的特點調節車內溫度,既可運輸10℃以上的南方果蔬產品,又可運輸處于凍結狀態的冷凍食品。能實現制冷、加熱、通風換氣以及融霜的自動化。缺點是造價高,維修復雜,使用技術要求高。
機械制冷鐵路冷藏車有兩種結構形式。一種是每一節車廂都備有自己的制冷設備,用自備的柴油發電機組來驅動制冷壓縮機,冷藏車可以單節與一般貨物車廂編列運行,如圖11-6所示;另一種鐵路冷藏車的車廂中只裝有制冷機組,沒有柴油發電機,這種鐵路冷藏車不能單輛與一般貨物列車編列運行,只能組成單一機械列運行,由專用車廂中的柴油電機統一供電,驅動壓縮機。
冰箱側面、底面設有散熱片。每組冰箱設有兩個排水器,分左右布置,以不斷清除融解后的水或鹽水溶液,并保持冰箱內具有一定高度的鹽水水位。
冰槽在車廂頂部布置時,由于冷空氣和熱空氣的交叉流動,容易形成自然對流,加之冰槽沿車廂長度均勻布置,不安裝通風機也能保證車廂內溫度均勻,但結構較復雜,且箱底易積存雜物。
冰槽設置在車廂兩頭時,為使冷空氣在車廂內均勻分布,需安裝通風機,而且由于冰箱占地,約使載貨面積減少25%。對于水產品,可直接把碎冰撒在包裝箱里面,然后將包裝箱碼放在火車廂中,車廂底面有排水管將融化的冰水排至車外。
如果車廂內要維持0℃以下的溫度,可向冰中加入某些鹽類,車廂內的最低溫度隨鹽的濃度而變化。






