空氣壓縮機站主要附屬設備的結構及使用情況介紹如下。
1,空氣過濾器空氣壓縮機普遍使用紙質過濾器和金屬過濾器。排氣量在12m3/mi如以下的空氣壓縮機多用紙質過濾器(圖3-24),且與內燃機的過濾器通用。紙質過濾器的濾芯基本參數系列如表3-16所示。

排氣量為
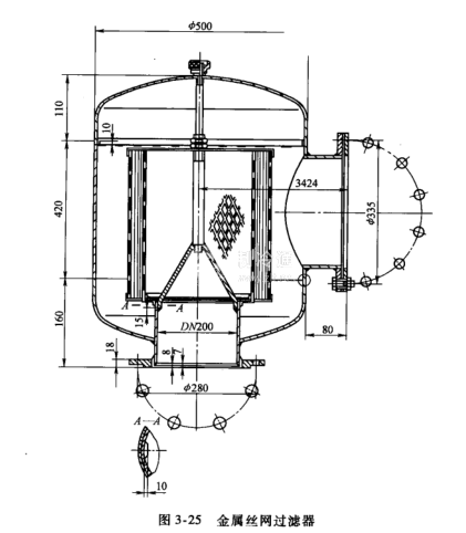
的空氣壓縮機,用金屬絲網過濾器(圖3-25)或金鳳屑過濾器(圖3-26)。
排氣量在
以上的空氣壓縮機,用組合式金屬過濾器(圖3-27)。
為提高金屬過濾器的吸塵能力,可在金屬表面涂上一層N22全損耗系統用油,或在濾清器殼體下部盛有適度的全損耗系統用油(圖3-25),其目的是用來吸附空氣中的塵埃。



過濾器的過濾表面積可按下式計算

無油潤滑空氣壓縮機必須采用干式過濾器。






