在國際上,隨著冷卻肉消費量的不斷增大,各國對肉類的冷卻工藝方法加強了研究,其重點圍繞著加快冷卻速度、提高冷卻肉質量等方面來進行。其中較為廣泛采用的是丹麥和歐洲其他一些國家提出的二階段快速冷卻工藝方法,其特點是采用較低的溫度和較高的風速進行冷卻。
二階段冷卻工藝一般是:第一階段,將畜肉在快速冷卻隧道或在冷卻間內進行冷卻,空氣溫度降得較低,一般為-15~-10℃,空氣速度一般為1.5~2.5m/s,經過2~4h后,胴體表面在較短的時間內降到接近冰點,迅速形成干膜,而后腿中心溫度還在16~25℃。第二階段,將冷卻間溫度逐步升高至0~2℃,以防止肉體表面凍結,直到肉體表面溫度與中心溫度達到平衡,一般為2~4℃,冷卻間內的空氣循環同時隨著溫度的升高而慢下來。
采用二階段冷卻工藝方法的設備有兩種形式:一種是全部冷卻過程在同一冷卻間中完成,另一種是在分開的冷卻間內進行。

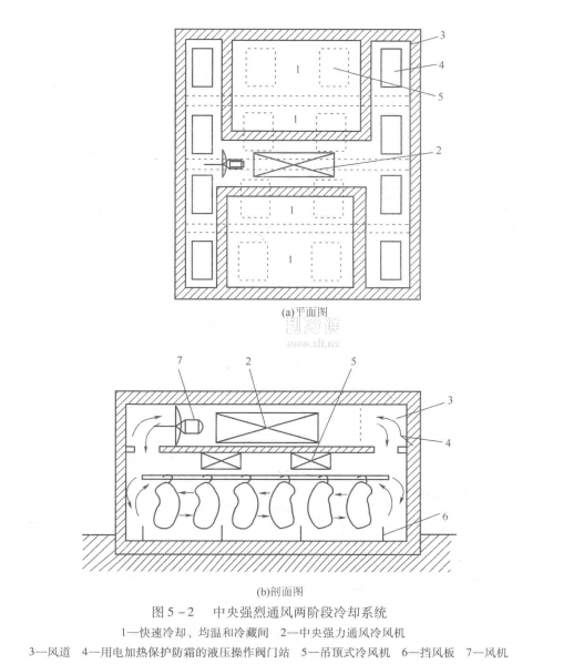
在同一冷卻間內進行二階段冷卻如圖5-1所示。首先將冷卻間內溫度降至-15~-10℃,然后進貨,進貨過程中,變速風機停開或降低轉速,使溫度上升到-5℃;進貨結束后,立即用強烈的空氣冷卻,經2~3h庫溫降至-10℃,這時肉胴體表面溫度為0℃左右,肉中心溫度約為20℃:關閉風機后胴體仍掛在冷卻間內,經過12~13h肉體溫度均衡到4℃,即在進貨后16h,肉胴體中心溫度降到4℃,這樣可以在次日早晨出庫,也可以繼續存放在冷卻間內。這種冷卻系統的主要缺點是每一個冷卻間需要安裝相當大的蒸發器(冷風機)。一般每噸進貨量需要60m的蒸發器面積,且熱負荷的不平均系數較大。為克服這一缺點,可采用中央強烈通風系統,如圖5-2所示。

中央強烈通風系統的冷風機安裝在冷卻間的上部,作為第一階段冷卻用,而安裝在冷卻間天花板頂部的若干個小型冷風機用于第二階段冷卻和在進一步貯藏中維持冷卻間所需的制冷量。
二階段快速冷卻工藝方法的主要優點是:質量優于普通方法,外觀良好,肉表面干燥,肉味很好,質量損失比普通方法減少40%~50%。對新鮮的豬肉和牛肉,歐洲一些國家的平均質量損失為1%。另外,提高了冷卻間的生產能力,一般比傳統的冷卻方法提高1.5~2倍。
從經濟觀點上看,采用二階段冷卻工藝方法并不節省投資和操作費用,只是降低了肉類在冷卻過程中的干耗和減少了細菌污染,而且二階段冷卻工藝方法能引起牛、羊肉冷收縮的問題,使肉在進一步成熟時也不能充分軟化,致使肉硬化,汁液流失大。因此有的學者認為牛羊肉宜采用慢速冷卻,或一般快速冷卻工藝。但有的學者認為對加工周轉量較大和加工出口的牛羊肉也可采用二階段冷卻工藝方法。






