這種裝置除具有一般連續快速凍結的特點外,還由于在隧道入口處,采用強烈吹風,把食品吹起,使其呈懸浮狀態,防止其互相粘連,因而提高了產品質量,是一種專用于食品單個速凍的裝置。
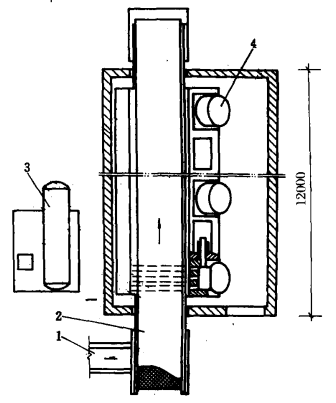
食品凍結的工作原理是,該裝置在隔熱的殼體中設置了長條形的金屬制槽道,槽道底面開有許多小孔,槽道的側面或下方設有熱發器組和離心風機,以強力吹風形式使風速為6~8m/S的-30℃冷風由梢底小孔吹出,置于槽道內的待凍食品(形狀和大小應比較均勻)被上升冷氣流吹動,懸浮在氣流中而彼此分離,呈翻滾浮游狀態,出現了流態化現象。在一定風速下,冷空氣形成了氣墊,懸浮的食品顆粒好像流體般自由流動。當食品從進口處加入此槽道后,就向低的一端移動,于是食品就在這低溫氣流中一邊移動一邊凍結,而不需要設傳送帶。見圖2-15。
由于食品在凍結過程中呈懸浮分離狀態,食品凍結后就不會粘結在一起,實現了單個速凍。每個冷凍食品的表面都有一層薄的冰膜,故干耗很小,而且這樣可以與大氣中的氧隔離,能確保食品原有的鮮度、色澤和滋味。又因山下方吹進的冷空氣形成了氣墊,有助于被凍食品的移動運送,防止食品的破損。
這種凍結裝置適用于直徑約40mm或長約125mm的食品,如碗豆、豆角、胡蘿卜丁、整蘑菇及片、球芽甘藍、玉米段及切成塊、片、條狀的蔬菜,還有草莓、蘋果片、菠蘿片、蝦仁、肉丁等。
各種型號凍結裝置的生產能力如表2-5。
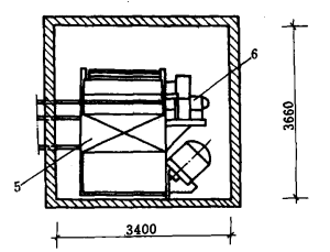
流態化凍結裝置的結構參見圖2-16。






