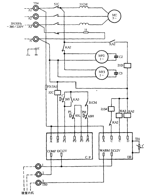
分體柜式空調器室外機控制電路如圖所示。室外風扇電機MF2,MF3均為單相電機,而壓縮機MC為三相電機.在維修及進行連接時應特別注意。
工作過程如下:當室內機發出制冷信號時,室外機TB3端子將12V直流電送到C.P.板,此時通過內部繼電器使端子A與端子P2相聯。這樣從TB4的A1端經F3(5A)→A端→P2端→低壓開關63L→高壓開關63H→壓縮機過流繼電器51CM→熱控開關26S→PI端→B端,使交流接觸器52C得電動作,52C常開觸點閉合,三相電經過流繼電器使壓縮機得電工作,同時經KA2常閉觸點使室外風機MF2 ,MF3工作。
當室內機發出啟動濟南壓縮機以熱泵方式制熱時,室外機TB3端子將12V直流電送至C. P.板,使壓縮機啟動工作,同時將12V直流電送至DR板,使A端子與C端子閉合,此時四通換向閥21S4閉合,制冷管路換向,實現熱泵方式工作。當室外溫度傳感器感知冷凝器結霜時,DR板內繼電器動作,將A端子與D端子相聯,除霜繼電器KA2得電,常閉觸點KA2斷開,室外風機停止運轉,四通換向閥失電,制冷劑恢復正常流動,同時常開觸點KA2閉合,21D除霜電磁閥得電,快速除霜。加熱用繼電器KA3始終得電,防止熱控開關26S斷開,保證壓縮機正常運轉。






