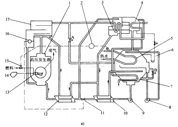
熱水和冷水采用同一回路的直燃型溴化鋰吸收式冷熱水機組,是一種通常使用的制冷或采暖專用機。在制冷工況下,它按雙效溴化鋰吸收式機組的串聯或并聯循環流程工作;在采暖工況下,它按冷劑蒸汽在蒸發器內冷凝的溴化鋰吸收式制熱循環流程工作。


圖13-7為熱水和冷水采用同一回路的直燃型溴化鋰吸收式冷熱水權以及其制熱循環流程圖上的表示。在制冷工況,轉換閥A、B關閉,機組按稀溶液在低溫溶液換熱器之后分流的雙效溴化鋰吸收式機組的并聯循環流程工作。在采暖工況,轉換閥A, B開通,冷劑蒸汽經轉換閥和旁通管路,自高服發生器流入蒸發器并在其中冷凝;冷劑水經轉換閥和旁通管路,自蒸發器流入吸收器并在其中稀釋濃溶液;熱水在蒸發器傳熱針內被加熱,并經冷水回路向機組外供熱。






