平式陳列柜又稱平型壁式陳列柜。它可以單面靠墻壁放置,或由營業員進行面對面服務。平式陳列柜類同于單邊島式陳列柜,具有較寬的存貨底板.容積大,節省空間。具有雙溫的平式冷柜,一般為內藏式制冷機組,以冷風循環穩定陳列食品的陳列貯藏溫度-2~3℃。當陳列冷凍貨時,可實現-18℃以下的低溫。平式陳列柜基本結構如圖26-16所示。

一種用于大型超市的平式陳列柜,為了保證食品的鮮度和衛生,食品不與外界空氣接觸,則增加類似柜臺式陳列柜的玻璃罩,更適用于陳列銷售鮮肉、鮮魚或熟食等各類食品。
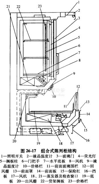
組合式陳列柜,一般由貨架式陳列柜和平式陳列柜組合而成。它具有上述兩種冷柜的性能和使用特點,使超市商場地面與空間得到充分利用和多種類型的食品陳列展示,其典型結構如圖26-17所示。

組合式陳列柜具有兩組冷風吹送系統,可按食品性質和陳列要求,各自調節使用溫度。組合式冷柜上部為封閉式,陳列展示-18℃以下的低溫保鮮食品;下柜為敞開式,可陳列-10~-15℃冷凍食品,或陳列-2~3℃新鮮肉、魚和肉制品,或陳列展示果蔬等冷卻食品。






