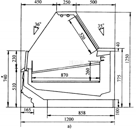
柜臺式陳列柜的基本結構如圖26-15a所示,類同于商業柜臺,它具有大視野的玻璃罩,后部為透明的玻璃移門,頂部有約250 mm寬平臺,上部裝有照明燈。柜臺式陳列柜內部有冷風循環,以保持食品陳列展示過程的穩定低溫。柜臺式陳列柜一般為全封閉結構,食品不與外界空氣接觸,保證了陳列食品的鮮度和衛生,其頂部照明襯托出食品品質,有利于食品銷售。柜臺式陳列柜可根據使用要求調節溫度,一般多用于-12℃以下低溫,最低溫度可達-21℃。

![]()
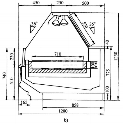
另外,為適應超市食品陳列銷售的需要,還有柜臺式熱柜。它可以采用電熱器或加熱燈加熱和保溫,見圖26-15b。






