油壓差控制器在安裝使用時應注意:
1)高、低壓接口分別接液壓泵出口油壓和曲軸箱低壓,切不可接反。參見圖49-34。

2)控制器本體應垂直安裝,高壓口在下,低壓口在上。
3)油壓差等于油壓表讀數與吸氣壓力表讀數的差值,不要誤以油壓表讀數為油壓差。
4)油壓差的設定值一般調整為0.15一0.2MPa。
5)采用熱延時的壓差控制器,控制器動作過一次后,必須持熱元件完全冷卻(需5mi。左右)、手動復位后,才能再次啟動使用。

不帶延時機構的壓差控制器就是一單純的壓差開關。例如國產CWK-11型、YCK型和國外的RT型就屬于此類。
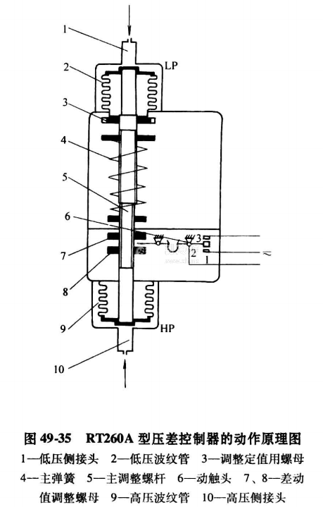
圖49-35為RT260A型壓差控制器的動作原理圖,圖49-36為它的結構圖,如前所述,它是一只外接延時繼電器的壓差控制器。其動作原理從圖49-35看十分清晰。壓差給定值可通過定值調整螺母、主調整桿來改變主彈簧的預緊度來實現,而壓差控制器的差動則可用改變差動調整螺母間的間隙來實現。

其構造圖49-36可與原理圖對照分析。






