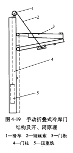
折疊滑升式冷庫門。由上下兩扇門板用合頁連接而成,配上合適的平衡系統,能自由開閉,并能自鎖。其基本結構及工作原理見圖4-19。
手動折疊式冷庫門,兩側有鋁合金立柱,內有壓重鐵,由綱絲繩連接,通過立柱頂部的滑車與門板相連。兩側立柱上方有可上下闊整的橫梁,在立柱、門框和門板下部裝有密封條,在門中央裝有能左右移動的定位器。當定位器插銷插人裝在門立柱錐形插銷座時,密封條被壓緊,起到良好的密封效果。鋼絲繩的一端與兩側立柱內的重鐵連接,另一端與下門板上的調節塊固定。由于平衡系統的作用,門啟、閉自如并可以實現定位。這種門有啟、閉不占用通道,方便鏟車進出作業,啟、閉平滑省力的特點。







