1.氧氣的性質
氧氣是一種無色、無味、無嗅、無毒的氣體。在規定條件下(溫度0℃,一個標準大氣壓),密度為1420kg/襯,在常壓下冷卻至一182.98℃就會變成天藍色透明而易流動的液體。在一218.4℃凝固為藍色晶體。臨界溫度為134.74℃。氧是一種活潑的助燃氣體,非常容易與其他物質化合生成氧化物。
當壓縮狀態的氣態氧與礦物油脂或細微分散的可燃物質接觸時能夠發生自燃。氧氣幾乎能與所有可燃氣體和液體燃料的蒸氣混合而形成爆炸性的混合氣體且具有很寬的爆炸范圍。多孔性有機物質(碳、炭黑、泥炭、羊毛纖維等)浸透了液態氧,當遇到明火或在一定的沖擊力下,就會產生劇烈的爆炸。
氧氣的純度越高,則混合氣體的火焰溫度越高。焊接用的氧氣純度分為兩級,一級純度的含氧量不低于99.2%,二級純度的含氧量不低于99.5%。
2.氧氣瓶的安全使用
氧氣瓶是用來儲存和運輸氧氣的一種高壓容器,其瓶體厚度約為5-8mm,它可以儲存約15 MPa的壓力氧氣。工作時通過減壓器、氣管和焊炬將氧氣送出,作為氣焊用的助燃氣體。

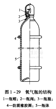
氧氣瓶的結構如圖1一29所示,它主要由瓶體、瓶閥、瓶帽、瓶箍和防震圈等組成。氧氣瓶用優質碳素鋼或低合金鋼制成。為了使瓶體在直立時保持穩定,通常把瓶底制成凹形。瓶體上部瓶頭內壁加工螺紋,可用來旋上瓶閥。瓶頭外部套上瓶箍和防震橡膠墊,以保持瓶閥在運愉過程中不會因受沖擊而損壞。為了在使用中能從氣瓶表面的顏色上區別各種氣體和危險程度,避免氣瓶在充灌、運輸、儲存和使用時造成棍淆而發生事故,各種氣瓶均根據ZBFGH 55-2000《氣瓶安全監察規程》的規定,涂刷不同顏色,標寫氣體名稱。
氧氣瓶在使用時,按逆時針方向旋轉瓶閥的手輪,可開啟瓶閥,反之則是關閉瓶閥。






