低壓貯液器又可根據其在系統中所起的作用不同,分為低壓貯液器、低壓循環貯液器和排液桶。低壓貯液器用于重力供液的氨制冷系統中,用來貯存低壓回氣經機房氣液分離器分離出來的制冷劑液體。低壓循環貯液器是在液泵供液系統中,以貯存循環使用的低壓液體,同時又可以起氣液分離作用。排液桶是專供蒸發器融霜或檢修時排液之用。
低壓貯液器的結構與高壓貯液器基本相同,只是連接管路有別。如進液管與氣液分離器的排液管連接;平衡管與氣液分離器的氣相空間相連;加壓管與高壓氣管接通;出液管與調節站進液管或排液桶進液管相接。



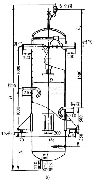
低壓循環貯液器的最大貯液量,不大于本身容積的70%;最小貯液量,不小于本身容積的30%,并考慮保證液泵15~20min不斷液。若兼作融霜排液桶用。則應根據排液量適當增加其容積。低壓貯液器的選擇,一般按“三段法”計算選用。其基本結構見圖20-7 。


低壓循環貯液器按其結構,分為立式和臥式。一般立式氣液分離效果較好,但要求設備間高度較高。它們的高度和容積示意圖如圖20-8和圖20-9所示。另外,由于低壓貯液器內溫度較低,通常根據壓力容器內的溫度必須予以一定的隔熱處理。






